1.功能描述
岗位是组织的最小单元,与组织有直接关系,每个组织有对应单独的岗位列表。例如:可在财务部(组织)下设置财务主管岗位,在行政部(组织)下设置行政主管岗位。同时,系统中授权页面可以以岗位为维度进行相关授权。岗位管理包括对岗位的增加删除及修改、岗位人员分配、设置主岗位等操作。
2.操作指引
2.1添加岗位
操作:【用户中心】→【组织管理】→【岗位管理】→单击“添加”→修改完毕,单击“保存”
添加成功,如下图所示:
注:岗位编码需唯一,如设置岗位编码重复,保存如下图所示,修改岗位编码唯一即可保存成功。
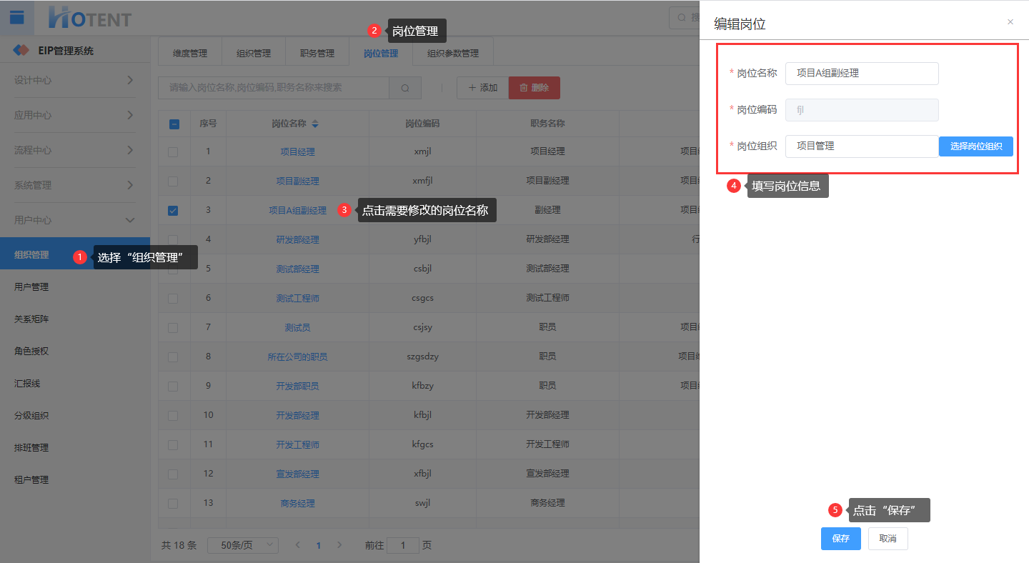
2.2编辑岗位
操作:【用户中心】→【组织管理】→【岗位管理】→单击编辑的岗位名称→编辑信息后,单击“保存”
保存成功,如下图:
2.3删除岗位
操作:【用户中心】→【组织管理】→【岗位管理】→勾选需删除的人员→单击“删除”→单击“确定”

删除成功,如下图:

2.4分配人员
操作:【用户中心】→【组织管理】→【岗位管理】→单击岗位对应操作“分配人员”→编辑信息后,单击“保存”
保存成功,如下图:
2.5删除岗位人员
操作:【用户中心】→【组织管理】→【岗位管理】→单击岗位对于的“分配人员”→在『岗位人员』中勾选需删除的人员→单击“删除”
删除成功,如下图: