手册

如何创建一个流程

6323
黎彩霞
2021-01-12 14:58:58
分享链接
摘要:本手册将通过创建“费用报销申请”流程,来帮助读者快速熟悉本系统的主要功能,主要涉及:数据建模、表单设计、流程设计及配置、表单列表配置等功能。

1.场景介绍


费用报销申请流程:

流程描述:用户发起费用报销申请流程,填写报销费用信息后,由财务部审批,若报销金额大于5000,需要财务部经理审批;


  • 表单数据

字段名称

字段属性

字段说明

基本信息

申请人

字符串

自动带出当前用户信息(必填

申请人id

字符串

自动带出当前用户id(申请页面不可见)

所属部门

字符串

自动带出当前用户的所属组织(必填

所属部门id

字符串

自动带出当前用户的所属组织id(申请页面不可见)

申请日期

日期

显示当前日期(必填

申请报销总金额

数字

自动计算报销明细中的总金额(必填

上传报销凭证

附件上传

支持上传jpgpngpdf格式的文件

报销明细项

报销事项

下拉框

选项:差旅费、办公费、通讯费、其他(必填

报销金额

数字

填写报销金额(必填

费用发生时间

时间选择

必填

备注

字符串

  • 流程图及流程要求


流程图说明:

1.  表单在首节点可以填写表单内容,其他节点均不可编辑表单内容;

2.  若表单申请报销总金额大于500则需要财务部门经理审批,小于500则结束流程;

任何用户都可以发起“费用报销流程”。


实现过程


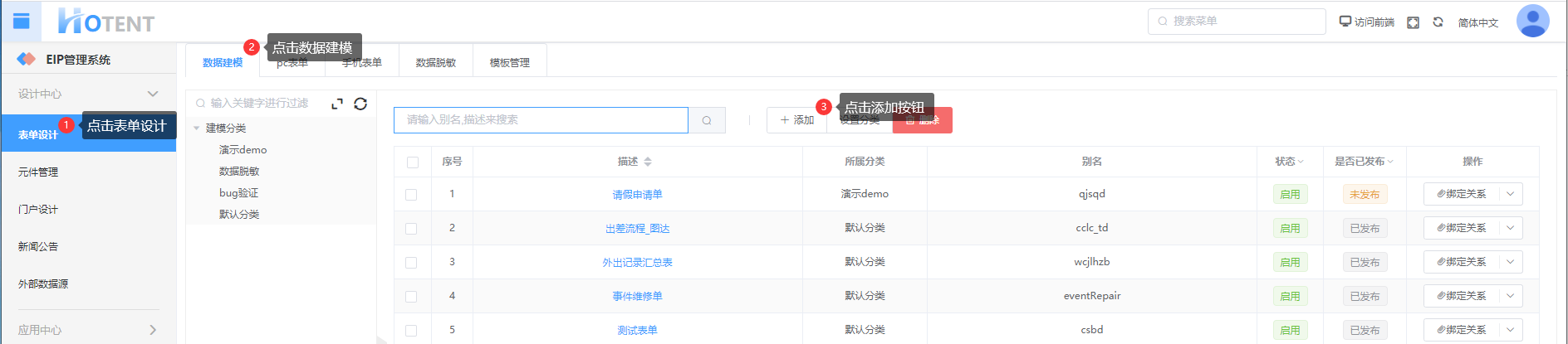
2数据建模

创建“报销申请单”,要先进行数据建模设计,在【数据建模】中一个“报销申请表”的业务对象,操作如下:


第一步:进入【数据建模】页面,点击“添加”按钮,打开添加建模页面;

第二步:在新增建模页面填写相应的模型信息;

第三步:点击“添加实体”,添加“报销基本信息”实体; 

第四步:添加“报销明细”子实体:

第五步:设计完毕,点击“发布”按钮

3.表单设计

建模完成后,便可进行“报销申请表单”的设计;操作步骤如下:

第一步:点击【表单设计】,点击页面中的[pc表单]页签;

第二步:点击【PC表单】页面中的“添加”按钮,打开【选择业务对象】页面,选择“报销申请单”,点击“确定”

第三步:选择初始化模板:

第三步:修改对应的字段控件类,请看控件配置说明

第四步:表单设计完毕,输入表单属性后,点击保存;

第五步:发布表单;

3.1控件配置说明

该模块为“费用报销表单”中使用到的控件配置操作步骤:


1、设置申请人的控件为“用户选择器”,设置为默认显示当前用户,并将用户id,返回到申请人id中,配置步骤如下图:

2、设置申请人所属部门的控件为“组织选择器”,设置为默认显示当前组织,并将组织id,返回到申请人所属部门id中,配置步骤如下图:


3、设置申请日期字段默认显示当前时间:


4、设置申请报销总金额自动对子表中“报销金额”这一列的值进行求和:

5、设置上传报销凭证的控件为附件,并且设置只支持上传jpgpngpdf的文件,配置步骤如此下图:

6、设置子表字段-报销事项为下拉框,并且配置固定选项:差旅费、办公费、通讯费、其他,配置步骤如此下图:

4.流程设计

流程设计操作步骤如下:

第一步:进入【流程设计】->【流程定义】页面中点击{新增}按钮

第二步:进行流程设计;

第三步:重复第二步,设计出如下流程图:

第四步:修改节点名称:将“用户任务2”修改为“财务部审批”

第五步:重复第四步:将“用户任务3”修改为“财务部经理审批”:

第六步:修改分支线描述:

第七步:设置完毕后,点击“发布”按钮:

5.流程配置

流程发布后,会进入到流程配置界面;

5.1绑定表单

1、绑定全局表单步骤如下:

第一步:进入【流程设计】->【流程定义】页面中点击列表中的流程名称;

第二步:绑定全局表单:报销申请单

第三步:设置表单权限:将申请人、申请人所属部门、申请日期设置为只读,将申请人id、申请人所属部门id设置为隐藏;

设置完权限后,如下图所示:

2、设置节点表单:财务部审批节点绑定报销申请单,并设置表单在节点审批时的字段为只读状态:


重复上述步骤,将财务部经理审批节点绑定报销申请单,并设置表单在节点审批时的字段为只读状态

设置完毕后,点击“保存配置”按钮;



5.2配置节点审批人员

第一步:配置发起人节点的节点审批人为“发起人”;


第二步:设置“财务部审批”节点的审批人为“财务部”;

第三步:设置“财务部经理审批”节点的审批人为“财务部经理(即财务部主负责人)”;

第四步:设置完毕后,点击“保存配置”;

5.3设置分支条件


设置分支条件:当报销总金额大于5000时,流转到“财务部经理审批”;

当报销总金额小于等于5000时,结束流程

第一步:进入流程配置界面,点击分支网关;


第二步:在分支条件配置中,点击{设置条件}

第三步:设置“财务部经理审批”分支条件;

第四步:设置结束节点的分支条件;

第四步:设置完毕后,点击“保存配置”;

6.流程发布


流程配置完成后,需要将流程授权给一般用户,一般用户才有权限启动“报销申请流程”操作步骤如下:

第一步:进入【流程设计】->【流程定义】页面,选择“报销申请流程”点击操作列下的{授权管理}按钮;


第二步:点击“新增授权”,设置授权信息,如下图;


第三步:点击保存

授权成功后,用户登录系统前台,可在首页的【流程中心】->【新建流程】中,发起流程。

7.流程使用

7.1启动流程

流程创建完成后,用户登录前台系统,在【流程中心】中点击【新建流程】,打开流程列表,点击流程名称,即可进入流程发起页面:
例:使用李四的账号发起报销申请流程;

7.2待办查询与审批


切换财务部“王宏”的账号来审批流;

“王宏”用户登录后,在【流程中心】->【待办事项】列表中找到并打开审批任务。在表单下方的“审批操作”模块中,填写审批意见,并选择审批动作。


7.3流程历史查询

1、对已处理过的流程,可在前台首页中【流程中心】à【已办事项】列表中查看:

点击标题查看已办流程的详细信息;

2、对流程的发起者,可在【流程中心】->【我的请求】列表中查看流程流转情况:

8.流程监控

1、流程实例监控

流程启动后,可在(【实例管理】à【实例管理】)中查看流程实例明细;



2、任务管理

管理员在【任务管理】列表中可查看所有用户启动流程产生的任务,并且可直接对该流程进行处理;

发表评论
评论通过审核后显示。