一、消息发送日志
        本系统支持邮件、短信、语音、微信等通知类型,在流程运转过程中,我们可以选择一种或多种通知类型进行消息发送,也可配置流程任务自动给节点处理人发送通知等。消息的发送状态、发送内容等均可在消息发送日志中查看
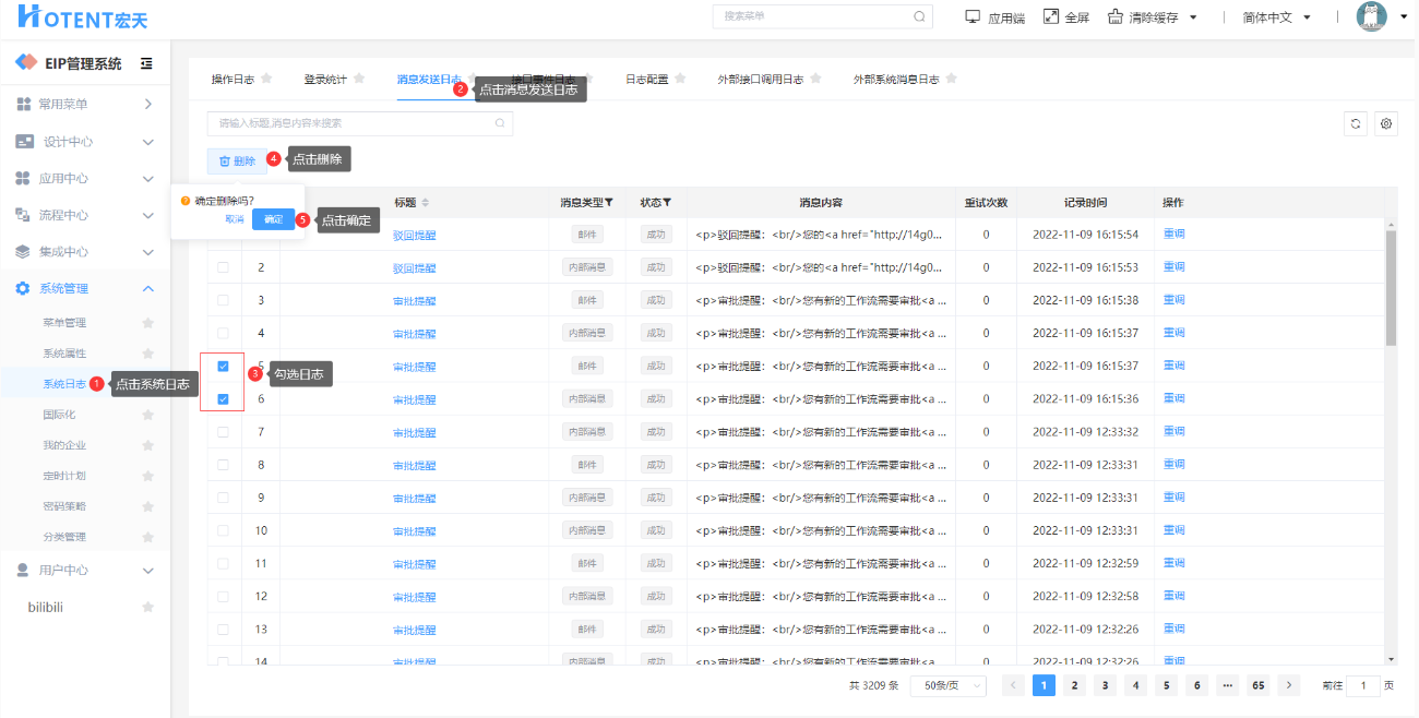
二、查看消息发送日志
第一步:【系统管理】→【系统日志】→【消息发送日志】;
第二步:可通过输入框输入关键字搜索或通过状态等进行筛选查找相关日志;
第三步:点击标题可查看详细日志明细。
             
三、 修改消息发送日志状态
消息发送日志,有两状态:成功、失败。可通过“重调”以及“标记为成功“修改其状态。
”操作:【系统管理】→【系统日志】→【消息发送日志】→ 在”操作“列下进行设置
             
            
四、 删除消息发送日志
描述:当日志积累到一定量或一定周期后,管理员可通过操作界面删除部分/全部消息发送日志
操作:【系统管理】→【系统日志】→【消息发送日志】→勾选需删除的日志→点击“删除
             
异常信息及解决方案
n  526 Authentication failure[0]
通常原因有以下几点:
1、SMTP服务器信息填写错误。
2、SMTP服务器的用户邮箱和用户名错误(例如邮箱是web@daixiaorui.com,请分别试一下“web”、“web@daixiaorui.com”,因为部分只需输入@前面的,有些邮箱要输入完整的)
3、密码错误(注意的是要填写明文的密码) 
 
 
 
 
