一家公司可能有多个系统,出于某种原因,需要直接调用宏天软件EIP企业信息管理平台中,指定的外部接口。比如调用宏天软件EIP企业信息管理平台中,发起流程的接口。为了更好地区分外部接口与内部接口之间的调用,我们把外部接口的授权过程整合在服务管理这个功能中。下面将介绍服务管理功能的使用与扩展。
功能介绍:
通过服务管理这个功能,我们可以管理每一个子系统,从而实现对指定的外部接口进行授权。下面通过一张图片简单了解一下设计的思路。
            
            服务管理
            操作指引
            
1.新增外部系统
第一步:【集成中心】-【服务管理】,单击“添加”;
第二步:填写外部系统信息;
第三步:填写完毕,点击“保存”。
          
          
下面对新增外部系统管理页面的参数进行说明。
系统编码:类似于主键,用于唯一识别该外部系统的一个属性字段,在外部接口授权、鉴权、消息转发的时候会用到。
系统名称:用于标注该系统的名称。
系统密匙:用于申请访问外部接口的Token。
管理员名称:管理员和创建人可以看到该外部系统的相关信息。被设置为管理员的用户,前提要有该菜单的权限。
系统根路径:该系统的根路径,比如http://127.0.0.1
系统首页地址:该系统的首页,在管理页面可以通过点击“访问”,便可以访问该系统。
流程消息队列:该属性用于扩展功能用,下面会说明该字段的用途。
系统描述:用于描述该系统的用途。
接口授权账号:用于记录外部接口的调用人。在“外部接口调用记录”菜单可以看到外部接口的相关调用记录。
是否启用:当选择关闭时,则不能生成访问外部接口的token。
2.编辑外部系统
第一步:【集成中心】-【服务管理】,单击“系统名称”;
第二步:修改外部系统信息;
第三步:修改完毕,点击“保存”。
          
3.删除外部系统
勾选需删除的外部系统(可多选),单击“删除”,可删除外部系统。如下图所示:
4.访问外部系统
在【集成中心】->【服务管理】,单击“访问”,页面跳转到设置的外部系统。
          
5 设置管理员
在【集成中心】->【服务管理】,单击“设置管理员”,设置外部系统的管理员信息。
          
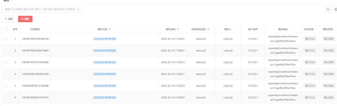
6.查看接口调用记录
在【集成中心】->【外部系统管理】,单击“接口调用记录”,查看关于这个系统的所有外部接口的调用记录。
          
 
 
 
 
 
 
 
 
 
 
 
 
