1.功能描述
实例管理是查看流程实例信息及对流程实例进行挂起或取消挂起,删除,恢复删除等操作,对流程表单,审批历史进行干预,表单修改历史记录查询;
2.查看实例
在【任务管理】列表中显示用户有查看流程任务权限的流程产生的任务,如下图:
            
查看流程明细:点击流程实例列表的“查看”按钮,进入“查看实例”详情页面,在查看任务页面中有四个tab页,分别是“审批记录”,“业务表单”,“流程图”, “实例信息”,默认显示“审批记录”页面。如下所示:
            
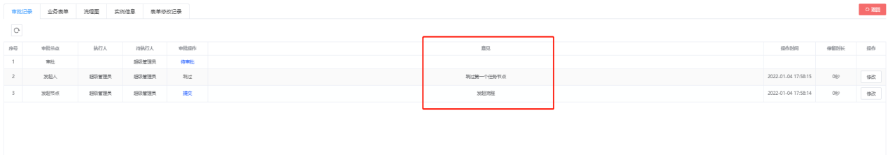
审批记录:显示流程的审批记录,管理员可对流程的审批意见进行删除或修改;
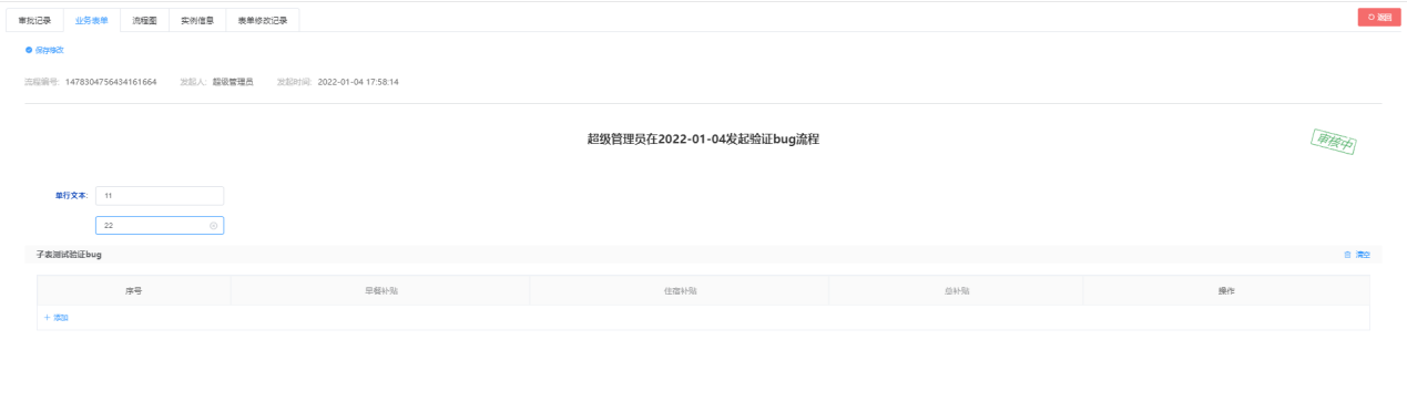
业务表单:即显示表单信息,管理员可对表单信息进行修改,如下图:
流程图:显示流程的流程图,流程图节点显示的颜色不同代表该节点进行的操作不同,颜色代表的操作在页面的上面有罗列,将鼠标放到节点上时,弹出“任务审批详情”框,记录了该节点进行过的所有操作。如下所示:
实例信息:显示流程的实例信息;
表单修改记录:显示表单在哪个节点修改了信息
3.挂起实例
流程挂起操作:当流程实例没有被挂起时,点击流程实例操作列的“挂起”按钮将流程实例挂起,流程实例被挂起后,属于该流程实例的流程任务不能被审批,直到取消挂起后才可以继续审批。挂起操作和效果如下所示:
            
            
4.删除实例
将实例删除
注:此处的删除时逻辑删除
第一步:【流程中心】→【实例管理】→【实例管理】;
第二步:勾选需删除的实例(可多选);
第三步:单击“删除”;
第四步:单击“确定”。
如下图所示:
5.恢复实例
第一步:【流程中心】→【实例管理】→【实例管理】;
第二步:勾选需恢复的实例(可多选);
第三步:单击“恢复”;
如下图所示:
6.催办
催办当前的待审批人
第一步:【流程中心】→【实例管理】→【实例管理】;
第二步:选择要进行催办的流程实例,点击催办;
第三步:配置催办信息,点击确定;
            
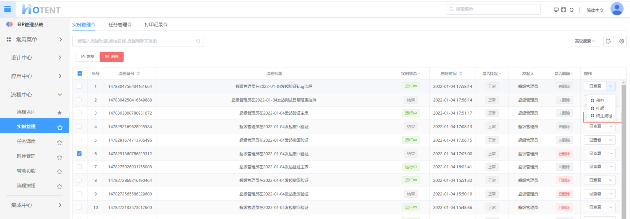
7.终止流程
终止该流程
            
 
 
 
 
 
 
 
 
 
 
 
 
 
 
 
 
 
