1.功能描述
当有用户离职或是调岗等情况时,管理员可将该用户下的待办任务移交给另外一个用户审批。可根据角色,岗位,用户,组织查询对象,将这个对象的基本信息和权限信息全部查询出来,可以批量做任务和权限移交。
2.操作指引
第一步:【流程中心】→【任务调度】→【权限调整】;
第二步:选择查询对象,点击选择;
            
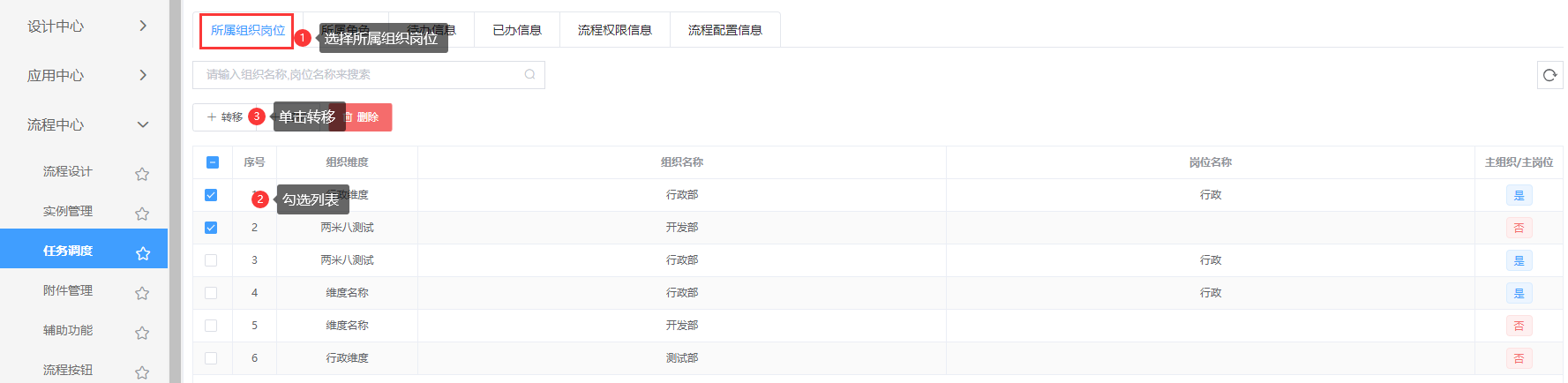
第三步:选择所属组织岗位(所属角色/待办信息/已办信息/流程权限信息/流程配置信息),勾选列表;
第四步:单击“转移”,选择转移的对象。
如下图所示:
            
在cs5这个转移对象的所属组织岗位下方显示转移的组织信息
同时在【用户管理】→【用户中心】的cs5的编辑页面,在所属组织岗位下方也显示转移的组织信息
3.注意事项
1.任务移交后,该待办数据会显示在被移交人的待办列表下,被移交人有权限对该待办进行审批;
2.任务移交只能有管理员进行操作,普通用户不能操作;
 
 
 
 
 
