手册

宏天软件EIP_从0-1搭建系统

1451
廖沅静
2023-12-25 14:57:53
分享链接


0 -1 搭建系统

版本:V1.0

  


术语表

序号

术语名

术语含义

1

业务建模

基于一个业务创建数据库表,以及维护表于表之间的关系。

2

表单

基于业务建模的字段创建业务表单,包含表单里面的数据映射,布局样式与交互效果等。

3

表单列表

具备增删查改等一系列功能的数据列表页面。

4

数据列表

只支持查询和配置一下展示样式的数据列表页面。

5

流程定义

设计流程,包含流程的全部配置。

6

流程实例

基于设计的流程创建流程申请单,每一个单据申请过程代表一个流程实例。

7

流程任务

每一个需要处理的审批待办代表一个流程任务。

 

目的

指导用户初次使用系统搭建流程与应用

2.1  适用范围

使用管理后台配置业务流程或应用模块的用户。

概述

后台管理员配置业务应用流程过程中有很多注意事项需要知道,用以避免错误的操作导致配置完毕的内容无法达到预期效果,或因为误操作导致生产事故的发生。

本文档会基于关键功能点给出配置建议或注意事项;

本文档会基于关键功能给出功能使用的特别指引;

本文档不会指导大家操作功能,功能的操作还是以操作手册为准。

如何创建一个组织架构

4.1  组织架构场景描述

1. 组织架构图


2.用户组织关系

部门

人员

主负责人

销售部

张三、李四、王五

张三

研发部

林小花、胡晓明、李多多

林小花

财务部

孙丽丽、赵宇宙、王宏

孙丽丽

4.2  配置步骤

第一步:在用户管理中添加用户“张三”;



第二步:重复第一步,添加其他用户:


 

第三步:添加“一般用户”、“部门经理”两个角色,并给该角色进行菜单授权及分配人员;

:添加用户后,系统会默认将用户添加到“一般用户”这个角色下;

进入【用户中心】->【角色授权】,选择“一般用户”点击操作列下的“分配用户”按钮,查看列表是否有新增的用户;

 



添加“部门经理”角色:


“部门经理”进行菜单及分配人员;



第四步:添加维度“宏天软件”;






第五步:在宏天软件下添加组织:研发部、财务部、销售部


第六步:重复第二步步骤,添加“财务部”、“销售部”组织;


第七步:给组织添加用户:给“销售部”添加组织人员:张三、李四、王五;




第八步:重复第七步,分别给“研发部”添加组织人员:林小花、胡晓明、李多多;“财务部”添加组织人员:孙丽丽、赵宇宙、王宏;




第九步:设置组织主负责人(即部门经理):设置“销售部”的主负责人为“张三”;


第十步:重复第九步,分别设置“研发部”的主负责人为:林小花;“财务部”的主负责人为“孙丽丽”



第十一步:设置用户的主组织(组织架构中可能会存在一个用户属于多个组织的情况,我们可通过设置主组织来设置用户的默认组织)



重复上述步骤,设置其他用户的主组织;



4.3  使用新增用户登录应用端


关键词:组织 架构 操作 快速

 

如何创建一条流程

5.1  业务建模

5.1.1.1  1.场景介绍

 

费用报销申请流程:

流程描述:用户发起费用报销申请流程,填写报销费用信息后,由财务部审批,若报销金额大于5000,需要财务部经理审批;

 

· 表单数据

字段名称

字段属性

字段说明

基本信息

申请人

字符串

自动带出当前用户信息(必填

申请人id

字符串

自动带出当前用户id(申请页面不可见)

所属部门

字符串

自动带出当前用户的所属组织(必填

所属部门id

字符串

自动带出当前用户的所属组织id(申请页面不可见)

申请日期

日期

显示当前日期(必填

申请报销总金额

数字

自动计算报销明细中的总金额(必填

上传报销凭证

附件上传

支持上传jpg、png、pdf格式的文件

报销明细项

报销事项

下拉框

选项:差旅费、办公费、通讯费、其他(必填

报销金额

数字

填写报销金额(必填

费用发生时间

时间选择

必填

备注

字符串

 

· 流程图及流程要求


 

流程图说明:

1.  表单在首节点可以填写表单内容,其他节点均不可编辑表单内容;

2.  若表单申请报销总金额大于500则需要财务部门经理审批,小于500则结束流程;

任何用户都可以发起“费用报销流程”。

 

5.2  实现过程
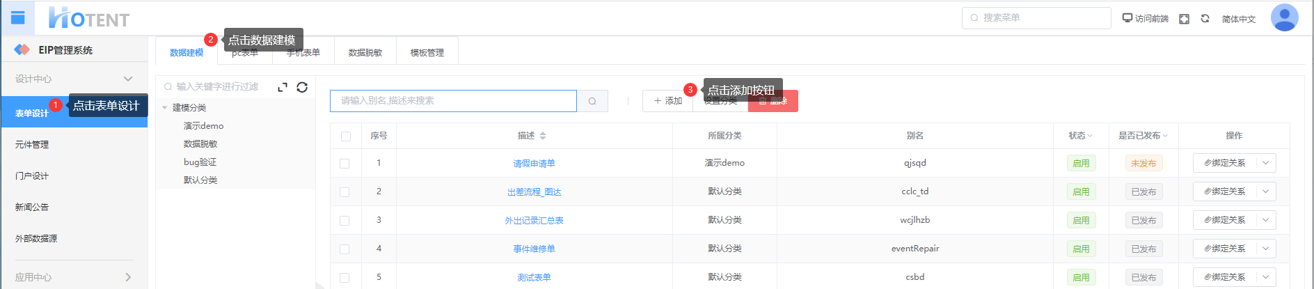
5.2.1.1  2数据建模

 

创建“报销申请单”,要先进行数据建模设计,在【数据建模】中一个“报销申请表”的业务对象,操作如下:

 

第一步:进入【数据建模】页面,点击“添加”按钮,打开添加建模页面;


第二步:在新增建模页面填写相应的模型信息;


第三步:点击“添加实体”,添加“报销基本信息”实体; 


第四步:添加“报销明细”子实体:


第五步:设计完毕,点击“发布”按钮

5.2.1.2  3.表单设计

建模完成后,便可进行“报销申请表单”的设计;操作步骤如下:

第一步:点击【表单设计】,点击页面中的[pc表单]页签;

第二步:点击【PC表单】页面中的“添加”按钮,打开【选择业务对象】页面,选择“报销申请单”,点击“确定”


第三步:选择初始化模板:


第三步:修改对应的字段控件类,请看控件配置说明;

第四步:表单设计完毕,输入表单属性后,点击保存;


第五步:发布表单;


5.2.1.3  3.1控件配置说明

该模块为“费用报销表单”中使用到的控件配置操作步骤:

 

1、设置申请人的控件为“用户选择器”,设置为默认显示当前用户,并将用户id,返回到申请人id中,配置步骤如下图:


2、设置申请人所属部门的控件为“组织选择器”,设置为默认显示当前组织,并将组织id,返回到申请人所属部门id中,配置步骤如下图:


 

3、设置申请日期字段默认显示当前时间:


 

4、设置申请报销总金额自动对子表中“报销金额”这一列的值进行求和:


5、设置上传报销凭证的控件为附件,并且设置只支持上传jpg、png、pdf的文件,配置步骤如此下图:


6、设置子表字段-报销事项为下拉框,并且配置固定选项:差旅费、办公费、通讯费、其他,配置步骤如此下图:


5.2.1.4  4.流程设计

流程设计操作步骤如下:

第一步:进入【流程设计】->【流程定义】页面中点击{新增}按钮


第二步:进行流程设计;


第三步:重复第二步,设计出如下流程图:



第四步:修改节点名称:将“用户任务2”修改为“财务部审批”


第五步:重复第四步:将“用户任务3”修改为“财务部经理审批”:


第六步:修改分支线描述:


第七步:设置完毕后,点击“发布”按钮:


5.2.1.5  5.流程配置

流程发布后,会进入到流程配置界面;

5.2.1.6  5.1绑定表单

1、绑定全局表单步骤如下:

第一步:进入【流程设计】->【流程定义】页面中点击列表中的流程名称;


第二步:绑定全局表单:报销申请单


第三步:设置表单权限:将申请人、申请人所属部门、申请日期设置为只读,将申请人id、申请人所属部门id设置为隐藏;


设置完权限后,如下图所示:


2、设置节点表单:财务部审批节点绑定报销申请单,并设置表单在节点审批时的字段为只读状态:



 

重复上述步骤,将财务部经理审批节点绑定报销申请单,并设置表单在节点审批时的字段为只读状态

设置完毕后,点击“保存配置”按钮;

 

 

5.2.1.7  5.2配置节点审批人员

第一步:配置发起人节点的节点审批人为“发起人”;


 

第二步:设置“财务部审批”节点的审批人为“财务部”;


第三步:设置“财务部经理审批”节点的审批人为“财务部经理(即财务部主负责人)”;


第四步:设置完毕后,点击“保存配置”;

5.2.1.8  5.3设置分支条件

 

设置分支条件:当报销总金额大于5000时,流转到“财务部经理审批”;

当报销总金额小于等于5000时,结束流程

第一步:进入流程配置界面,点击分支网关;

 


第二步:在分支条件配置中,点击{设置条件}


第三步:设置“财务部经理审批”分支条件;


第四步:设置结束节点的分支条件;



第四步:设置完毕后,点击“保存配置”;

5.2.1.9  6.流程发布

 

流程配置完成后,需要将流程授权给一般用户,一般用户才有权限启动“报销申请流程”操作步骤如下:

第一步:进入【流程设计】->【流程定义】页面,选择“报销申请流程”点击操作列下的{授权管理}按钮;

 




第二步:点击“新增授权”,设置授权信息,如下图;


第三步:点击保存

授权成功后,用户登录系统前台,可在首页的【流程中心】->【新建流程】中,发起流程。

5.2.1.10  7.流程使用

启动流程

流程创建完成后,用户登录前台系统,在【流程中心】中点击【新建流程】,打开流程列表,点击流程名称,即可进入流程发起页面:
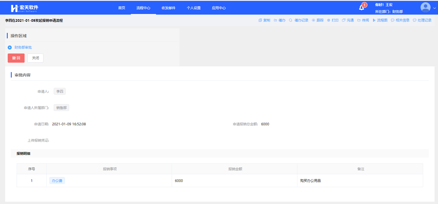
例:使用李四的账号发起报销申请流程;

待办查询与审批

 

切换财务部“王宏”的账号来审批流;

“王宏”用户登录后,在【流程中心】->【待办事项】列表中找到并打开审批任务。在表单下方的“审批操作”模块中,填写审批意见,并选择审批动作。

 

流程历史查询

1、对已处理过的流程,可在前台首页中【流程中心】à【已办事项】列表中查看:

点击标题查看已办流程的详细信息;

2、对流程的发起者,可在【流程中心】->【我的请求】列表中查看流程流转情况:

流程监控

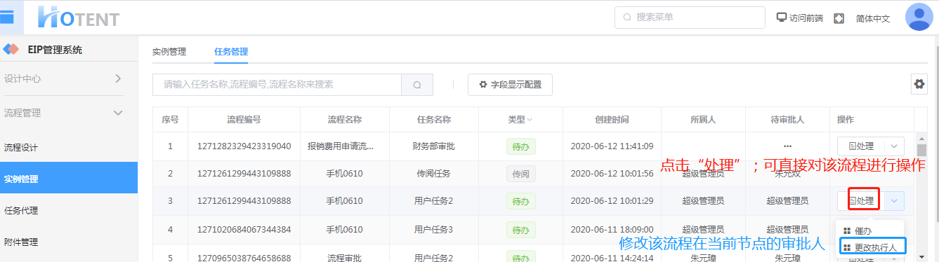
1、流程实例监控

流程启动后,可在(【实例管理】à【实例管理】)中查看流程实例明细;

 

 

2、任务管理

管理员在【任务管理】列表中可查看所有用户启动流程产生的任务,并且可直接对该流程进行处理;


发表评论
评论通过审核后显示。